#日志系统说明
先来传送门:
-
1、日志主要说明:谁在什么时间,在什么地方,做了什么事情,产生了什么影响,影响的变化因子。
-
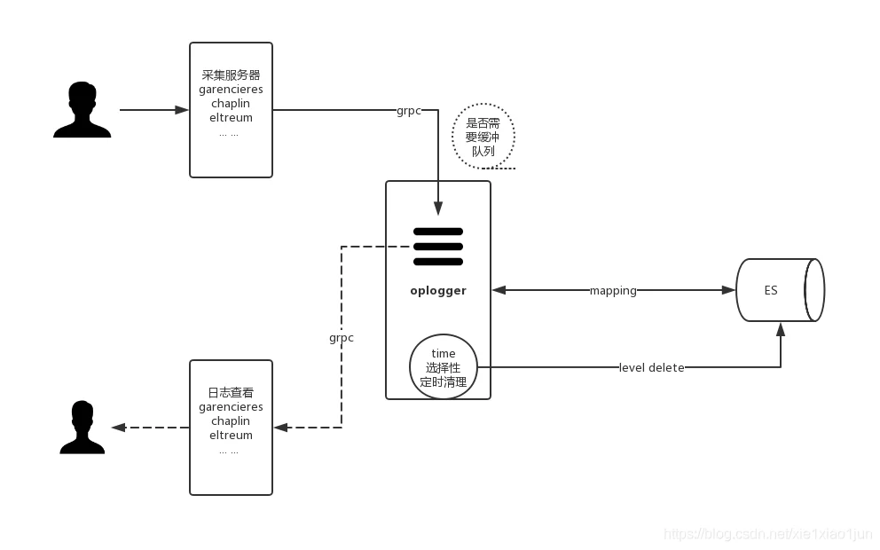
2、日志系统主要建设在oplogger基础上。将现有的mysql存储方式改成elasticsearch的存储方式。并且更新了现有字段,使其更优化
-
3、以下为主要设计原理图:

以下为时序图:

- 4、需要重写的接口如下:
//! 本地物流服务
service Logger {
rpc Operate(Operation) returns (common.Empty);
//MultiOperate 批量插入操作日志
rpc MultiOperate(Operations) returns (common.Empty);
rpc SearchLog(SearchLogReq) returns (SearchLogResp);
}
说明:为了兼容性,不修改接口调用参数及返回值内容。只修改内部实现细节。
- 5、新日志系统的数据格式说明:
根据日志基本形态结合实际需求,列出一下思维导图

以下归类列出数据列。

说明:
说明:
- trace_id : 用来追踪一个请求的全服务调用流向
- 应用/服务的唯一标识: 用来确定日志产生的应用服务器的唯一标识(可以细分)
- 业务项的唯一标识: 用来确定逻辑段的唯一标识,如orderid,sku,stokin_code 等
- 时间序列表: 用来记录日志的变化时间序,及日志创建的时间点
- 事件序列、描述: 具体描述一件事情;如打包调试信息,封箱错误信息,拆包裹业务信息
- 变化值序列: 描述事件内部的不同变化值
- 备注: 用于一些说明
- 预留字段: 用来扩展日志系统业务能力
- caller: 日志产生的当前文件名及行号等信息
- user_id,user_name :添加操作人记录
- 6、业务逻辑接口说明
采用接口,或者插件的形式引入具体业务逻辑中。
以下为接口实现及逻辑:


6、逻辑及代码调用说明:
业务逻辑调用:
//------ 日志记录 ------
var oploger logerlogic.OpLogerTuple //创建一个三元组日志类型
for _, v := range list {//添加多个日志
oploger.AddOne(oplogger.EOpType_EOpSTokin,"service", username, sku,"操作补拍", "", oplogger.ELogLevel_EOperate)
}
//发送日志
logerlogic.OnAddLogOplogger(ctx, &oploger)
6、逻辑及代码调用说明:
日志写入调用:
eslist := tools.ConvertRe2ESLog(req.Info)
for _, v := range eslist {
tmp = append(tmp, v)
}
//批量添加
b := es.GetClient().BulkAdd(config.Config.ElasticSearch.Index,
config.Config.ElasticSearch.Index, "", tmp)
日志写入调用:
eslist := tools.ConvertRe2ESLog(req.Info)
for _, v := range eslist {
tmp = append(tmp, v)
}
//批量添加
b := es.GetClient().BulkAdd(config.Config.ElasticSearch.Index,
config.Config.ElasticSearch.Index, "", tmp)
日志搜索:
//精确搜索
term := make(map[string]interface{})
...
//模糊匹配
match := make(map[string]interface{})
...
//时间段搜索
timeCase := make(map[string]es.CaseSection)
...
eslist := tools.Search(term, match, timeCase, req.Page, req.Limit)
说明:以接口解耦,具体业务根据不同需求实现接口实现。主要用来对数据分流。